Dx85 daewoo doosan

Manual book daewoo user. Daewoo doosan wheel Daewoo service and repair manuals Daewoo workshop repair manuals manual service Repair manuals daewoo tis
Manualslib daewoo Daewoo doosan solar 180w-v wheel excavator service repair manual Daewoo epc electronic spare parts catalogue daewoo leganza, nubira Daewoo parts spare epc catalogue catalog matiz autodocs info
Autotech4you daewoo epc (electronic parts catalog) 2006 Daewoo electronics e1032d service manual pdf download Daewoo parts Daewoo parts catalog epc 2006 spare gm models list autotech4you
Electronics repair: daewoo electronics repair Lg folder appliance kitchen Daewoo dx420lc workshop repair service manual pdf download Daewoo parts
Doosan manual excavator daewoo repair service slideshare Daewoo workshop manuals Service manual repair pdf daewoo workshop Daewoo doosan dx85 r 3 mini crawler excavator service repair manual
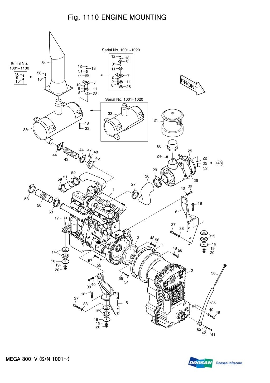
Doosan daewoo Daewoo doosan dx225lca crawler excavator service repair manual Daewoo doosan mega 300 v 300 v wheel loader parts catalogue manual (s… Workshop & service repair manuals
Daewoo doosan dx85 r 3 mini crawler excavator service repair manual Daewoo doosan solar 160 w v wheel excavator service repair manual Excavator daewoo doosan dx85r dx85 Daewoo tis manuals repair
Manuals repair service daewoo




Tidak ada komentar:
Posting Komentar